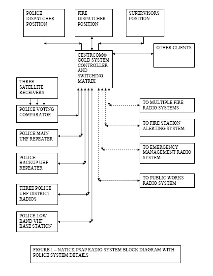
What’s in the Back Room?

This August 2008 Monitoring Times Feature by Domenic Mallozzi was missing Figure 1 because of space restrictions, and the captions and call-outs which provided the majority of information about this look into the back room of a 911 dispatch center. We hope you will enjoy this second visit to the Back Room.

 

Back Room Fig 1